公司动态NEWS
SL滑块联轴器

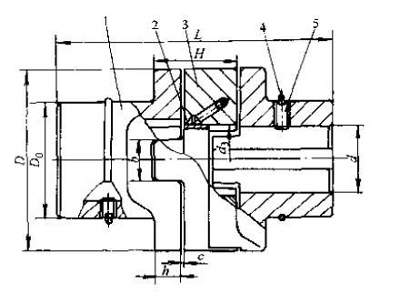
SL滑块联轴器由两个在端面上开有凹槽的半联轴器和一个两面带有凸牙的中间盘组成。因凸牙可在凹槽中滑动,故可补偿安装及运转时两轴间的相对位移。十字滑块联轴器又名金属滑块联轴器,其滑块呈圆环形,用钢或合金制成,适用于转速较低,传递转矩较大的传动。为了减少摩擦及磨损,使用时应从中间盘的油孔中注油进行润滑。因为半联轴器与中间盘组成移动副,不能发生相对转动,故主动轴与从动轴的角速度应相等。但在两轴间有相对位移的情况下工作时,中间盘就会产生很大的离心力,从而增大动载荷及磨损。因此选用时应注意其工作转速不得大于规定值。这种联轴器一般用于转速n<250r/min,轴的刚度较大,且无剧烈冲击处。这种联轴器零件的材料可用45钢,工作表面需要进行热处理,以提高其硬度;要求较低时也可用Q275钢,不进行热处理。
SL滑块联轴器是由两个端面开有径向凹槽的半联轴器和两端各具凸榫的中间滑块所组成。中间滑块两端面上的凸榫相互垂直,分别嵌装在两个半联轴器的凹槽中,构成移动副。如果两轴线不对中或偏斜,运转时滑块将在凹槽内滑动,从而补偿两轴的径向位移和少量的角位移,当转速较高时,由于滑块的偏心将会产生较大的离心力和磨损,并给轴和轴承带来附加动载荷。因此它只适用于轴线间相对位移较大,无剧烈冲击且低速(n<300r/min)的场合。。它允许的径向位称y0.04d(d为轴径),角位移?30°。
SL滑块联轴器特点:
浮动盘中心的运动轨迹为圆,其直径等于两轴的偏心距e=△y。
在两轴有相对位移情况下工作时,中间盘会产生很大的离心力,从而增大动载荷及磨损。因此选用时应注意其工作转速不得大于规定值。
材料:两半联轴器——45钢或ZG310-570(大尺寸用)。
中间浮动盘——45钢,表面淬火。
应用:径向偏移△y较大,T大,无冲击,低速传动的两轴联接。
允许nmax=100~250r/min,△y≤0.04d,△α≤30′。
结构简单,径向尺寸小,转速高时,浮动盘产生较大的离心力和容易磨损结构简单,径向尺寸小,转速高时,浮动盘产生较大的离心力和容易磨损。

SL滑块联轴器基本性能参数和主要尺寸(单位:mm)
| 型号 | 公称转矩 Tn(N·M) | 许用转速 [n]r/min | 轴孔直径 d | D | D | L | H | S | 转动惯量 (kg.㎡ ) | 重量 (kg) |
| SL70 | 120 | 250 | 15~18 | 70 | 32 | 42 | 14 | 0.5 | 0.002 | 1.5 |
| SL90 | 250 | 250 | 20~30 | 90 | 45 | 52 | 14 | 0.008 | 2.6 | |
| SL100 | 500 | 250 | 36~40 | 100 | 60 | 70 | 19 | 0.026 | 5.5 | |
| SL130 | 800 | 250 | 45~50 | 130 | 80 | 90 | 19 | 0.07 | 10 | |
| SL150 | 1250 | 250 | 55~60 | 150 | 95 | 112 | 19 | 0.14 | 15.5 | |
| SL170 | 2000 | 250 | 65~70 | 170 | 105 | 125 | 24 | 0.25 | 22.4 | |
| SL190 | 3200 | 250 | 75~80 | 190 | 110 | 140 | 29 | 0.5 | 31.5 | |
| SL210 | 5000 | 250 | 85~90 | 210 | 130 | 160 | 33 | 1.0 | 0.9 | 45 |
| SL240 | 8000 | 250 | 95~100 | 240 | 140 | 180 | 33 | 1.6 | 59.5 | |
| SL260 | 9000 | 250 | 100~110 | 260 | 160 | 190 | 33 | 2 | 76 | |
| SL280 | 10000 | 100 | 110~120 | 280 | 170 | 200 | 33 | 3 | 94.3 | |
| SL300 | 13000 | 100 | 120~130 | 300 | 180 | 210 | 43 | 4.3 | 111 | |
| SL320 | 16000 | 100 | 130~140 | 320 | 190 | 220 | 43 | 5.7 | 129 | |
| SL340 | 20000 | 100 | 150 | 340 | 210 | 250 | 48 | 8.4 | 162 | |
| SL360 | 32500 | 100 | 160 | 360 | 240 | 280 | 48 | 19.2 | 258 | |
| SL400 | 38700 | 80 | 170 | 400 | 260 | 300 | 48 | 26.1 | 305 | |
| SL460 | 63000 | 70 | 200 | 460 | 300 | 350 | 58 | 62.9 | 560 |


